let's talk about tone switches
Moderator: Ghost Hip
- dubkitty
- Supporter

- Posts: 14808
- Joined: Wed Nov 10, 2010 2:03 pm
- Location: somewhere between Never-Never Land and Wonderland, in a place called Never Wonder Land
let's talk about tone switches
since i started messing around with the Hopf i bought back in the 10s, i've become rather obsessed with the whole topic of tone switches. when plonking around on teh interwebz i managed to find schematics for the four most prominent examples of same: Schaller (as used in EU guitars including Framus, Hagstrom, and Höfner; the unit used in East German guitars such as Musimas, the Gretsch "mud switch," and the Gibson Varitone. interestingly, they all use different component values, and the Varitone uses a 15uH inductor to keep highs. i'll look for decent YouTubes for each. when i used to lay out datasheets for IC companies in Silicon Valley i more or less learned how to read simple schematics, which helps a lot. i had done a document with all the component values, but apparently lost it and will have to do it over again. i'll also post the schematics. out of the traditional tone switches i really like the one on the Musima, which seems to give more useful tones; i'm really liking the Varitone, though. curious to hear thoughts from some of you boffins who understand this shiz better.
In girum imus nocte et consumimur igni
FIFTY YEARS OF SCARING THE CHILDREN 1970-2020--and i'm not done yet
DUBZ LOOPZ 2: THE NEXT GENERATION OUT NOW: https://on.soundcloud.com/9HKgc5xbaaYz6FNL7
DUBZ ÄLTER LOOPZ (2012-14): https://soundcloud.com/dubkitteh-1/sets ... ks-2012-14
FIFTY YEARS OF SCARING THE CHILDREN 1970-2020--and i'm not done yet
DUBZ LOOPZ 2: THE NEXT GENERATION OUT NOW: https://on.soundcloud.com/9HKgc5xbaaYz6FNL7
DUBZ ÄLTER LOOPZ (2012-14): https://soundcloud.com/dubkitteh-1/sets ... ks-2012-14
- dubkitty
- Supporter

- Posts: 14808
- Joined: Wed Nov 10, 2010 2:03 pm
- Location: somewhere between Never-Never Land and Wonderland, in a place called Never Wonder Land
Re: let's talk about tone switches
Schaller schematic--the value obscured by the Photobucket logo is 22uF:
Last edited by dubkitty on Fri Sep 18, 2020 12:39 pm, edited 1 time in total.
In girum imus nocte et consumimur igni
FIFTY YEARS OF SCARING THE CHILDREN 1970-2020--and i'm not done yet
DUBZ LOOPZ 2: THE NEXT GENERATION OUT NOW: https://on.soundcloud.com/9HKgc5xbaaYz6FNL7
DUBZ ÄLTER LOOPZ (2012-14): https://soundcloud.com/dubkitteh-1/sets ... ks-2012-14
FIFTY YEARS OF SCARING THE CHILDREN 1970-2020--and i'm not done yet
DUBZ LOOPZ 2: THE NEXT GENERATION OUT NOW: https://on.soundcloud.com/9HKgc5xbaaYz6FNL7
DUBZ ÄLTER LOOPZ (2012-14): https://soundcloud.com/dubkitteh-1/sets ... ks-2012-14
- dubkitty
- Supporter

- Posts: 14808
- Joined: Wed Nov 10, 2010 2:03 pm
- Location: somewhere between Never-Never Land and Wonderland, in a place called Never Wonder Land
Re: let's talk about tone switches
Gretsch schematic--includes alternate values for hotter pickups than FilterTrons:
In girum imus nocte et consumimur igni
FIFTY YEARS OF SCARING THE CHILDREN 1970-2020--and i'm not done yet
DUBZ LOOPZ 2: THE NEXT GENERATION OUT NOW: https://on.soundcloud.com/9HKgc5xbaaYz6FNL7
DUBZ ÄLTER LOOPZ (2012-14): https://soundcloud.com/dubkitteh-1/sets ... ks-2012-14
FIFTY YEARS OF SCARING THE CHILDREN 1970-2020--and i'm not done yet
DUBZ LOOPZ 2: THE NEXT GENERATION OUT NOW: https://on.soundcloud.com/9HKgc5xbaaYz6FNL7
DUBZ ÄLTER LOOPZ (2012-14): https://soundcloud.com/dubkitteh-1/sets ... ks-2012-14
- dubkitty
- Supporter

- Posts: 14808
- Joined: Wed Nov 10, 2010 2:03 pm
- Location: somewhere between Never-Never Land and Wonderland, in a place called Never Wonder Land
Re: let's talk about tone switches
Musima schematics:
this is the circuit from the De Luxe 25 like the one i have that's in pieces:
this is the circuit for their archtops:
this is the circuit from the De Luxe 25 like the one i have that's in pieces:
this is the circuit for their archtops:
In girum imus nocte et consumimur igni
FIFTY YEARS OF SCARING THE CHILDREN 1970-2020--and i'm not done yet
DUBZ LOOPZ 2: THE NEXT GENERATION OUT NOW: https://on.soundcloud.com/9HKgc5xbaaYz6FNL7
DUBZ ÄLTER LOOPZ (2012-14): https://soundcloud.com/dubkitteh-1/sets ... ks-2012-14
FIFTY YEARS OF SCARING THE CHILDREN 1970-2020--and i'm not done yet
DUBZ LOOPZ 2: THE NEXT GENERATION OUT NOW: https://on.soundcloud.com/9HKgc5xbaaYz6FNL7
DUBZ ÄLTER LOOPZ (2012-14): https://soundcloud.com/dubkitteh-1/sets ... ks-2012-14
- dubkitty
- Supporter

- Posts: 14808
- Joined: Wed Nov 10, 2010 2:03 pm
- Location: somewhere between Never-Never Land and Wonderland, in a place called Never Wonder Land
Re: let's talk about tone switches
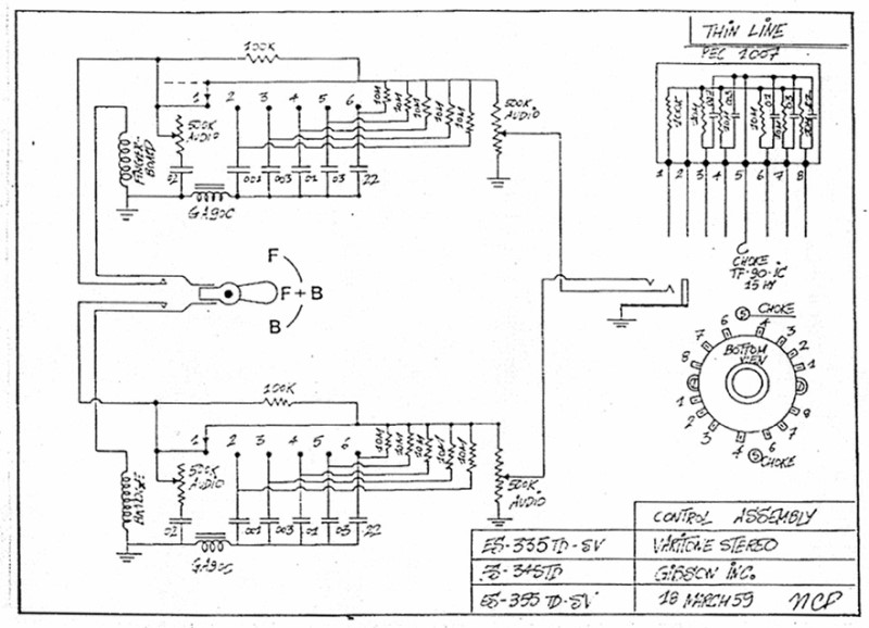
and finally, this is the Varitone. it's hard to read, so i found the component values on another site:
which are:
BYPASS
0.001 µF
0.003 µF
0.01 µF
0.03 µF
0.22 µF
plus a 15 uH inductor (labeled "choke") which apparently makes it into more of a notch filter.
which are:
BYPASS
0.001 µF
0.003 µF
0.01 µF
0.03 µF
0.22 µF
plus a 15 uH inductor (labeled "choke") which apparently makes it into more of a notch filter.
In girum imus nocte et consumimur igni
FIFTY YEARS OF SCARING THE CHILDREN 1970-2020--and i'm not done yet
DUBZ LOOPZ 2: THE NEXT GENERATION OUT NOW: https://on.soundcloud.com/9HKgc5xbaaYz6FNL7
DUBZ ÄLTER LOOPZ (2012-14): https://soundcloud.com/dubkitteh-1/sets ... ks-2012-14
FIFTY YEARS OF SCARING THE CHILDREN 1970-2020--and i'm not done yet
DUBZ LOOPZ 2: THE NEXT GENERATION OUT NOW: https://on.soundcloud.com/9HKgc5xbaaYz6FNL7
DUBZ ÄLTER LOOPZ (2012-14): https://soundcloud.com/dubkitteh-1/sets ... ks-2012-14
- spacelordmother
- HERO

- Posts: 5719
- Joined: Sun May 16, 2010 4:45 pm
- Location: Rochester, NY
- Contact:
Re: let's talk about tone switches
I hate tone knobs. Fiddling around in the middle is a pain in the ass and most settings sound like shit anyway.
Timing! This has been on my mind a lot this week actually as I just got a JMJM and want to strip down its controls. I am currently thinking of using the Gretsch schem, using the switch to emulate the different tone pots (resistor and cap in series) for the rhythm and lead channels. I'm still debating on whether or not I want to allow the rhythm circuit to use all 3 pickups, or just neck as is standard. Probably just need to play around to see if it's useful or if it just deludes the "jazzmaster" of it all.
On my Blacktop Jag (humbuckers) I removed the tone pot and use the pickup selector to give me different tonal options. On my trashy beater Mustang I removed the tone pot and have a tone switch for 'no cap' or 'some cap' (can't remember the value) to help tame the P90 snarl.
Tone switches are the way.
Timing! This has been on my mind a lot this week actually as I just got a JMJM and want to strip down its controls. I am currently thinking of using the Gretsch schem, using the switch to emulate the different tone pots (resistor and cap in series) for the rhythm and lead channels. I'm still debating on whether or not I want to allow the rhythm circuit to use all 3 pickups, or just neck as is standard. Probably just need to play around to see if it's useful or if it just deludes the "jazzmaster" of it all.
On my Blacktop Jag (humbuckers) I removed the tone pot and use the pickup selector to give me different tonal options. On my trashy beater Mustang I removed the tone pot and have a tone switch for 'no cap' or 'some cap' (can't remember the value) to help tame the P90 snarl.
Tone switches are the way.
- dubkitty
- Supporter

- Posts: 14808
- Joined: Wed Nov 10, 2010 2:03 pm
- Location: somewhere between Never-Never Land and Wonderland, in a place called Never Wonder Land
Re: let's talk about tone switches
i'm going to find YouTubes of the different switches; i'm pretty sure that i've seen/heard all four demonstrated.
In girum imus nocte et consumimur igni
FIFTY YEARS OF SCARING THE CHILDREN 1970-2020--and i'm not done yet
DUBZ LOOPZ 2: THE NEXT GENERATION OUT NOW: https://on.soundcloud.com/9HKgc5xbaaYz6FNL7
DUBZ ÄLTER LOOPZ (2012-14): https://soundcloud.com/dubkitteh-1/sets ... ks-2012-14
FIFTY YEARS OF SCARING THE CHILDREN 1970-2020--and i'm not done yet
DUBZ LOOPZ 2: THE NEXT GENERATION OUT NOW: https://on.soundcloud.com/9HKgc5xbaaYz6FNL7
DUBZ ÄLTER LOOPZ (2012-14): https://soundcloud.com/dubkitteh-1/sets ... ks-2012-14
- repoman
- IAMILF

- Posts: 2291
- Joined: Sat Sep 26, 2015 3:16 pm
- Location: Edge City
Re: let's talk about tone switches
spacelordmother wrote:I hate tone knobs. Fiddling around in the middle is a pain in the ass and most settings sound like shit anyway.
Timing! This has been on my mind a lot this week actually as I just got a JMJM and want to strip down its controls. I am currently thinking of using the Gretsch schem, using the switch to emulate the different tone pots (resistor and cap in series) for the rhythm and lead channels. I'm still debating on whether or not I want to allow the rhythm circuit to use all 3 pickups, or just neck as is standard. Probably just need to play around to see if it's useful or if it just deludes the "jazzmaster" of it all.
On my Blacktop Jag (humbuckers) I removed the tone pot and use the pickup selector to give me different tonal options. On my trashy beater Mustang I removed the tone pot and have a tone switch for 'no cap' or 'some cap' (can't remember the value) to help tame the P90 snarl.
Tone switches are the way.
I really like the way gretsches have this on the more expensive ones with the "mud switch." I never had much use for tone knobs either, although I did have a reverend with a sort of reverse tone knob that was pretty useful, it filtered out bass instead of treble.
Tone switches on guitar are nice, don't really like them on amps...I have a varitone style selector on a Matchless style clone I built and it's kind of meh and would prefer just a simple tone knob.
F U T U R E G A M E R
- dubkitty
- Supporter

- Posts: 14808
- Joined: Wed Nov 10, 2010 2:03 pm
- Location: somewhere between Never-Never Land and Wonderland, in a place called Never Wonder Land
Re: let's talk about tone switches
i can't get the YouTube to link with a timing point, so here's Andy with a demo of a Gretsch Duo Jet. he demonstrates the tone switch with the bridge pickup starting at 3:27. for all the bitching folks on Gretsch forums do about this circuit, i must say that it seems very usable.
[youtube]http://www.youtube.com/watch?v=nG5lExOZ9lI[/youtube]
[youtube]http://www.youtube.com/watch?v=nG5lExOZ9lI[/youtube]
Last edited by dubkitty on Wed Sep 23, 2020 1:44 pm, edited 2 times in total.
In girum imus nocte et consumimur igni
FIFTY YEARS OF SCARING THE CHILDREN 1970-2020--and i'm not done yet
DUBZ LOOPZ 2: THE NEXT GENERATION OUT NOW: https://on.soundcloud.com/9HKgc5xbaaYz6FNL7
DUBZ ÄLTER LOOPZ (2012-14): https://soundcloud.com/dubkitteh-1/sets ... ks-2012-14
FIFTY YEARS OF SCARING THE CHILDREN 1970-2020--and i'm not done yet
DUBZ LOOPZ 2: THE NEXT GENERATION OUT NOW: https://on.soundcloud.com/9HKgc5xbaaYz6FNL7
DUBZ ÄLTER LOOPZ (2012-14): https://soundcloud.com/dubkitteh-1/sets ... ks-2012-14
- dubkitty
- Supporter

- Posts: 14808
- Joined: Wed Nov 10, 2010 2:03 pm
- Location: somewhere between Never-Never Land and Wonderland, in a place called Never Wonder Land
Re: let's talk about tone switches
here is a demonstration of the Gibson Varitone. go to 2:00 for clean tones, 5:52 for distortion. i like this a whole lot, and would particularly like to wire one into a 12-string electric.
[youtube]http://www.youtube.com/watch?v=OGEwHJrLhIU[/youtube]
[youtube]http://www.youtube.com/watch?v=OGEwHJrLhIU[/youtube]
In girum imus nocte et consumimur igni
FIFTY YEARS OF SCARING THE CHILDREN 1970-2020--and i'm not done yet
DUBZ LOOPZ 2: THE NEXT GENERATION OUT NOW: https://on.soundcloud.com/9HKgc5xbaaYz6FNL7
DUBZ ÄLTER LOOPZ (2012-14): https://soundcloud.com/dubkitteh-1/sets ... ks-2012-14
FIFTY YEARS OF SCARING THE CHILDREN 1970-2020--and i'm not done yet
DUBZ LOOPZ 2: THE NEXT GENERATION OUT NOW: https://on.soundcloud.com/9HKgc5xbaaYz6FNL7
DUBZ ÄLTER LOOPZ (2012-14): https://soundcloud.com/dubkitteh-1/sets ... ks-2012-14
- dubkitty
- Supporter

- Posts: 14808
- Joined: Wed Nov 10, 2010 2:03 pm
- Location: somewhere between Never-Never Land and Wonderland, in a place called Never Wonder Land
Re: let's talk about tone switches
i'm having a hard time finding videos of Musima guitars with the tone switch, and for guitars with the Schaller circuit. i KNOW i saw a Musima clip. from what i've seen that circuit is quite good. i think the 22uF cap in the Schaller circuit is waaaaay too big...when i engage the T- position on my Hopf it sounds like you're at the bottom of the sea, and not in a good way.
anyone know something about the combinations of caps and resistors these circuits generally use? i haven't a clue as to how you'd select alternate values.
anyone know something about the combinations of caps and resistors these circuits generally use? i haven't a clue as to how you'd select alternate values.
In girum imus nocte et consumimur igni
FIFTY YEARS OF SCARING THE CHILDREN 1970-2020--and i'm not done yet
DUBZ LOOPZ 2: THE NEXT GENERATION OUT NOW: https://on.soundcloud.com/9HKgc5xbaaYz6FNL7
DUBZ ÄLTER LOOPZ (2012-14): https://soundcloud.com/dubkitteh-1/sets ... ks-2012-14
FIFTY YEARS OF SCARING THE CHILDREN 1970-2020--and i'm not done yet
DUBZ LOOPZ 2: THE NEXT GENERATION OUT NOW: https://on.soundcloud.com/9HKgc5xbaaYz6FNL7
DUBZ ÄLTER LOOPZ (2012-14): https://soundcloud.com/dubkitteh-1/sets ... ks-2012-14
- chromandre
- committed

- Posts: 210
- Joined: Fri Sep 14, 2018 9:14 pm
Re: let's talk about tone switches
In general, I think the most useful caps for filtering guitar in passive HPF and LPFs are all in-between the ranges of 104 to 102
- dubkitty
- Supporter

- Posts: 14808
- Joined: Wed Nov 10, 2010 2:03 pm
- Location: somewhere between Never-Never Land and Wonderland, in a place called Never Wonder Land
Re: let's talk about tone switches
it also occurred to me that i should mention the StellarTone ToneStyler, which is an aftermarket 10-position rotary tone switch reminiscent of a Varitone, but implemented differently, i think. i had one in the blue Strat with the Fender Abby pickups which i had to sell in the early 10s, and it was great...you could make that Strat sound like a Tele, a 50's Strat, Garcia's Doug Irwin "Wolf" guitar, and so on. they also make a 6-position switch, but it's being discontinued due to COVID-related manufacturing difficulties (they're still available on their website). you'd want 10 rather than 6 anyway, right?
https://stellartone.com/
https://stellartone.com/
Last edited by dubkitty on Wed Sep 23, 2020 3:17 pm, edited 2 times in total.
In girum imus nocte et consumimur igni
FIFTY YEARS OF SCARING THE CHILDREN 1970-2020--and i'm not done yet
DUBZ LOOPZ 2: THE NEXT GENERATION OUT NOW: https://on.soundcloud.com/9HKgc5xbaaYz6FNL7
DUBZ ÄLTER LOOPZ (2012-14): https://soundcloud.com/dubkitteh-1/sets ... ks-2012-14
FIFTY YEARS OF SCARING THE CHILDREN 1970-2020--and i'm not done yet
DUBZ LOOPZ 2: THE NEXT GENERATION OUT NOW: https://on.soundcloud.com/9HKgc5xbaaYz6FNL7
DUBZ ÄLTER LOOPZ (2012-14): https://soundcloud.com/dubkitteh-1/sets ... ks-2012-14
- dubkitty
- Supporter

- Posts: 14808
- Joined: Wed Nov 10, 2010 2:03 pm
- Location: somewhere between Never-Never Land and Wonderland, in a place called Never Wonder Land
Re: let's talk about tone switches
104 to 102 in what units? nF, pF?
In girum imus nocte et consumimur igni
FIFTY YEARS OF SCARING THE CHILDREN 1970-2020--and i'm not done yet
DUBZ LOOPZ 2: THE NEXT GENERATION OUT NOW: https://on.soundcloud.com/9HKgc5xbaaYz6FNL7
DUBZ ÄLTER LOOPZ (2012-14): https://soundcloud.com/dubkitteh-1/sets ... ks-2012-14
FIFTY YEARS OF SCARING THE CHILDREN 1970-2020--and i'm not done yet
DUBZ LOOPZ 2: THE NEXT GENERATION OUT NOW: https://on.soundcloud.com/9HKgc5xbaaYz6FNL7
DUBZ ÄLTER LOOPZ (2012-14): https://soundcloud.com/dubkitteh-1/sets ... ks-2012-14
- chromandre
- committed

- Posts: 210
- Joined: Fri Sep 14, 2018 9:14 pm
Re: let's talk about tone switches
I should be more clear! I havent studied ay of this formally but it seems typical guitar schematics floating around the DIY communities consider
104 short hand for 0.1uF same as 100nF
103 being .01uF same as 10nF
I think most guitars use a 203 cap (0.02uF) as stock for the tone knob, actually produces a pretty dramatic LPF in my opinion! I wonder if more people would use their tone knobs if it just shaved off a smaller portion of the frequency range, this is totally subjective but I find 682 cap is more or less the center frequency of guitar and it works pleasingly in both HPF and LPF positions.
104 short hand for 0.1uF same as 100nF
103 being .01uF same as 10nF
I think most guitars use a 203 cap (0.02uF) as stock for the tone knob, actually produces a pretty dramatic LPF in my opinion! I wonder if more people would use their tone knobs if it just shaved off a smaller portion of the frequency range, this is totally subjective but I find 682 cap is more or less the center frequency of guitar and it works pleasingly in both HPF and LPF positions.